24_pin_ecu

GCM-0S12-024-0401-F  Steuergeräte-Familie

Eigenschaften der GCM-0S12-024-Familie:

Ausgänge:

Kommunikation:

2 CAN 2.0B-Kanäle

 

Eingänge:

 

 

blue_glossy_button
Stecker ECM24
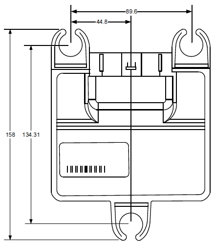
Gehäuse24

Download

Datasheet

3E Banner 6

GCM 24pin